一、特点:
1.母线穿芯,软线引出,板式安装;
2.全封闭,机械和耐环境性能好,电压隔离能力强。
二、使用环境条件:
1.环境温度:-55℃~+85℃;
2.相对湿度:温度为40℃时不大于90%;
3.大气压力:860~1060mbar(约为650~800mmHg)。
三、工作频率范围:50Hz~400Hz。
四、绝缘耐热等级:B级(130℃)。
五、安全特性:
1.绝缘电阻:常态时大于1000MΩ;
2.抗电强度:可承受工频6kV50Hz /1分钟;
3.阻燃性:符合UL94-V0级。
六、外形图、安装尺寸和线圈图:
1.外形图、安装尺寸见图一:

2.线圈图见图二:

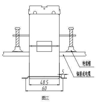
● 说明:每只产品配套供给两个底板支脚和一个母线支脚和固定母线螺丝,安装说明见下。
3.安装说明:
● 往底板上固定时:
取两只支脚(随产品配套供应)按图三所示插入底板支脚插孔。安装孔中心距为60×44.7;支脚安装孔径为Φ5.0;可用M5螺钉将互感器固定在底板上。
● 往母线上固定时:
将带M5孔的支脚(随产品配套供应)按图三所示插入母线支脚插槽中,M5孔中心距为60 可用M5螺钉将互感器固定在母线上。

七、典型应用及性能参数:
用电阻法直接获得采样电压时(如图四所示)性能参数见表一。

表一:
产品型号 | 额定 输入电流 | 额定 输出电流 | 额定 采样电阻 | 额定 采样电压 | 相移 | 非线性度 | 线性范围 |
TAK100-01 | 1000A | 5A | 0.3Ω | 1.5V | ≤50’ | ≤0.5% | ≥3倍额定 |
八、注意事项:
1.电流互感器初级应串联于被测电流回路中,次级应近似工作于短路状态;
2.电流互感器次级电路不允许开路,所以请不要装熔断器。